中华急诊医学杂志  2026, Vol. 35 Issue (2): 250-252   DOI: 10.3760/cma.j.cn114656-20250220-00114

加装节力架清创车的改良及应用
陈建萍 , 王洁 , 冯亚萍 , 金莹莹     
浙江省台州市恩泽医疗中心(集团)台州医院急诊科, 317000 台州

清创是对伤口、手术切口、烧伤、烫伤、慢性溃疡等各种伤害和感染风险的处理过程, 包括清理和消毒等步骤,旨在防止感染、促进伤口愈合[1-4]。清创车设计在不断更新换代,但仍存在不足:清创部位缺乏足够的支撑点; 冲洗过程中周边易被污染; 结构不够灵活; 垃圾处理及终末消毒不够便捷等[5-11]。本文作者基于文献查阅和临床经验[10-15],对传统清创车进行改进,设计了一款加装特制节力架的清创车能弥补以上不足,介绍如下。

1 设计 1.1 材料选择

清创车材料为厚度1.2 mm的304型号不锈钢板、2对3寸医用万向静音刹车滑轮。节力架材料:长方形基座为25 mm×38 mm的方形不锈钢条、调节器为高度300 mm,直径20 mm的圆形不锈钢柱,支架为厚度5 cm外皮包裹的海绵垫。

1.2 结构设计

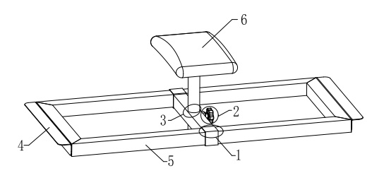
本产品由节力架和清创车主体2部分组成,外形结构见图 1图 2。①节力架:根据清创车内部宽度、主体长轴的1/3长度,设计节力架的长方形基座,使用不锈钢制作(见图 1-45),在基座长轴设计可前后滑动的调节杆(见图 1-1),在调节杆的中间设计节力架,节力架通过不锈钢杆与调节杆衔接(见图 1-3),不锈钢杆通过调节器可调节节力架的上下高度(见图 1-2),节力架使用厚度5 cm外皮包裹的海绵软枕(见图 1-6)。②清创车主体:车主体由厚度为1.2 mm的304型号不锈钢板构建的长方体厢式车体,内部有容纳腔,车体正上面两侧铰接设有活动板为容纳腔开口,活动板沿铰接端翻转可打开或关闭车体容纳腔(见图 2-78); 车体的侧面设不锈钢双开门,便于清创垃圾的处理及清创车的终末清洁与消毒(见图 2-9); 车体底部配有2对3寸万向静音刹车滑轮,便于清创车的灵活性使用(见图 2-1011)。

图 1 节力架设计图

图 2 加装后清创车图
2 临床应用与效果评价 2.1 临床应用对象

选取2023年1~12月在台州某三甲医院急诊科就诊的清创患者为研究对象。纳入标准:急诊清创患者; 排除标准:未使用改良版清创车清创的患者。使用改良版清创车清创患者共1 156例,其中头面部清创405例(35%),上肢清创531例(46%),下肢清创186例(16%),其他部位小清创34例(3%)。本研究经医院伦理委员会批准(伦理编号:K20231235)。

2.2 应用方法

急诊创伤患者根据受伤的部位,摆好清创体位后,将节力架放在清创车上,可通过滑轨左右移动及螺旋扭上下转动调节软枕位置(见图 3)。清创车内放置医疗垃圾袋,在软枕上套一次性乳胶套,结束后可将垃圾袋扎好袋口从清创车侧门取出。

图 3 改良后清创车实物应用图
2.3 评价指标

患者满意度:研究者自行设计的患者满意度调查表,在患者就诊后,进行测评,当场完成。

医生满意度:研究者自行设计的医护人员满意度调查表,每周对急诊科清创班的医护人员测评,问卷定人发放,当场收回,专人统计得分。

清创时间:由清创班护士负责统计。患者清创时间=清创结束时间-清创开始时间。

保洁呼叫频率/日:由清创班护士统计,每天对讲机呼叫保洁的次数。

2.4 评价方法

分别统计2022年1~12月使用传统清创车清创数据,2023年1~12月使用改良版清创车清创数据,随机抽取两个时间段的面部清创70例、上肢清创70例、下肢清创60例,对前后相关数据采用双重差分(difference-in-difference)建模分析,评估改良清创车对医护效率的影响。主要考虑清创时间和清创效率指标,并将医生、患者满意度、保洁呼叫频率/日也纳入指标考量,分别统计2022年和2023年的相关数据进行分析。清创时间和清创效率指标采用双重差分(difference-in-difference,DID)建模分析,通过比较两组在的手术时间变化,DID方法有效控制了时间不变的外生因素[16]。并通过显著性检验和稳健性分析,验证了改良清创车在不同清创部位的显著效应。

3 结果

通过对清创时间进行对数转换和缩尾处理,我们减少了数据的偏态和极端值影响,伤口的污染程度(1级40.5%,2级34.5%,3级24.5%)。模型中包含处理变量(改良与否)、手术部位的交互项,以及伤口大小、医生经验等控制变量。结果如下:变量描述性统计包括清创时间、对数清创时间、缩尾后对数时间、伤口大小、污染程度和医生经验。见表 1。清创时间的均值为31.20 min,显示出一定的变异性。对数转换后的时间均值为3.35 min,表明数据集中趋势。伤口大小和医生经验的均值分别为8.37 cm2和11.10年,反映了样本的多样性和医生的广泛经验。

表 1 项目主要变量描述性统计分析
名称 样本量 最小值 最大值 中位数值 标准平均差
手术时间(min) 200 10 105 29 31.2±14.7
对数手术时间(min) 200 2.30 4.65 3.37 3.35±0.41
缩尾后对数时间(min) 200 2.89 3.81 3.37 3.35±0.29
伤口大小(cm2 200 0.52 14.90 8.43 8.37±4.17
医生经验(年) 200 2 20 11 11.10±5.53

参照护理研究中量性研究的样本量估计方法与实验识别策略,双重差分模型可以表示为:Time=α+β1·treatment+β2·post+δ·(treatment×post)+γ·X+E; 其中:β1/beta是处理组与对照组之间的基准差异; ·Time表示清创手术时间; Treatment表示是否使用被改良的清创车; ·β2/beta是时间效应,即在处理前后所有医生清创效率的平均变化; ·δ/delta是关键系数,代表改良后的清创车对医生工作效率的净效应。

结果如图 4图 5显示,改良清创车在所有清创部位都具备缩短时间的效果,表明其对医护效率的提升具有显著性。见表 2。并且从清创部位的回归结果看,改良后的清创车对上肢清创的效果尤其突出,效率提升高达25.6%;此外,对其余清创部位的效率提升均超过了15%。通过稳健性检验和可视化分析,验证了模型结果的可靠性。统计分析使用前后患者、医生满意度次数及每日保洁呼叫次数,结果如下:保洁的呼叫次数从改进前的平均10.45次/ d,下降到3.26次/ d。见表 3

图 4 实验组与对照组对数化清创时间箱线图显示

图 5 不同部位的处理效应对比图

表 2 改良清创车对医护清创效率提高的影响的双重差分模型回归结果 (清创时间对数化和缩尾处理后,被解释变量:效率)
指标 头面部 上肢 下肢
改良组 -0.160b -0.256c -0.199b
(0.073) (0.065) (0.089)
伤口大小(标准化) 0.035 0.017 -0.013
(0.036) (0.032) (0.034)
污染程度2级 -0.033 0.003 -0.049
(0.096) (0.070) (0.076)
污染程度3级 0.043 0.057 0.035
(0.085) (0.087) (0.091)
医生经验(标准化) -0.047 -0.009 0.024
(0.038) (0.032) (0.033)
Constant 3.440c 3.440c 3.440c
(0.064) (0.063) (0.048)
Observations 81 69 49
R2 0.102 0.206 0.203
Adjusted R2 0.042 0.143 0.111
Residual Std. Error 0.316 (df = 75) 0.260 (df = 63) 0.222 (df = 43)
F Statistic 1.700 (df = 5; 75) 3.260b (df = 5; 63) 2.190a (df = 5; 43)
注:aP < 0.1; bP < 0.05; cP < 0.01

表 3 不同清创车临床使用满意度比较
项目 使用普通清创车 使用改良版清创车 P
人数 数值 人数 数值
患者满意度分数 200 92±8.26 200 96±6.78 P < 0.0001
医生满意度分数 18 93±5.26 16 98±4.37 P < 0.05
4 讨论

改良清创车在所有清创部位都具备缩短时间的效果,其中上肢清创的效果尤其突出,同时能够更好地适应患者的个体差异,为患者提供更加舒适和贴心的支撑,提高了患者就医体验。改良版清创车无需额外安排医护人员来协助固定头部和受伤肢体,有效地减少人力需求,节力架使患者能够采取适当体位,充分暴露伤口,在节约人力成本的同时,提高清洁消毒的质量和清创的效率,进而提高了医生满意度。软枕一人一橡胶保护套的使用,降低了相互交叉感染的风险; 清创车的宽口设计有效地避免了消毒液的飞溅,减少保洁人员的工作量。这些结果进一步支持了改良清创车在提升医护效率和优化工作环境方面的有效性。这些创新设计在提高清创效率的同时,关注了患者的舒适度和医疗操作的安全性,值得推广使用。但也存在改进的空间,可引入智能调控系统、自动加温系统、智能化感应系统等,可通过体位自动调整支撑点和软枕位置,使清创车更智能便携,实现更个性化的清创体验[17-18]

利益冲突  所有作者声明无利益冲突

作者贡献声明  陈建萍:产品改进、统计分析; 王洁:文章撰写; 冯亚萍:采集数据、数据整理; 金莹莹:研究设计。

参考文献
[1] 魏朋建, 牛永民, 董云云, 等. 骨科简易清创车的构造与临床应用[J]. 中国骨与关节损伤杂志, 2020, 35(12): 1252. DOI:10.7531/j.issn.1672-9935.2020.12.006
[2] 石钰坤. 皮内缝合术在急诊面部创伤治疗中的应用效果[J]. 医学美学美容, 2024, 33(14): 53-56. DOI:10.3969/j.issn.1004-4949.2024.14.014
[3] 陈鸣, 詹文龙. 耳廓离断伤急诊处理[J]. 中华急诊医学杂志, 2012, 21(1): 83-84. DOI:10.3760/cma.j.issn.1671-0282.2012.01.021
[4] 李想. 整形缝合技术在急诊面部浅表层外伤应用的可行性及安全性[J]. 中国医学创新, 2025, 22(16): 73-77. DOI:10.3969/j.issn.1674-4985.2025.16.018
[5] 魏彩虹, 余珍华, 蔡丽月. 一种多功能清创车设计与应用[J]. 医学理论与实践, 2022, 35(7): 1258-1259. DOI:10.19381/j.issn.1001-7585.2022.07.080
[6] 中国人民解放军联勤保障部队第九二三医院. 一种肢体清创车: CN202322328901.0[P]. 2024-05-03.
[7] 皖南医学院第一附属医院(皖南医学院弋矶山医院). 一种急诊清创车: CN202323656702.9[P]. 2024-10-29.
[8] 广西中医药大学第一附属医院. 一种清创车: CN201921535264.1[P]. 2020-08-07.
[9] 魏彩虹, 余珍华, 蔡丽月. 一种多功能清创车设计与应用[J]. 医学理论与实践, 2022, 35(07): 1258-1259. DOI:10.19381/j.issn.1001-7585.2022.07.080
[10] 陈晓丹. 视网膜脱离术后可调式体位垫的设计与应用[J]. 护理与康复, 2021, 20(4): 101-102. DOI:10.3969/j.issn.1671-9875.2021.04.028
[11] Aldridge P. How to carry out initial treatment of traumatic wounds: assessment, preparation and lavage[J]. Vet Nurse, 2013, 4(3): 168-173. DOI:10.12968/vetn.2013.4.3.168
[12] Atkin L. Understanding methods of wound debridement[J]. Br J Nurs, 2014, 23(sup12): S10-S15. DOI:10.12968/bjon.2014.23.sup12.s10
[13] 黄霜, 黄玉清, 顾琼, 等. 急诊手外伤清创护理配合体会[J]. 中华急诊医学杂志, 2002, 11(2): 135-135. DOI:10.3760/j.issn:1671-0282.2002.02.027
[14] 石钰坤. 皮内缝合术在急诊面部创伤治疗中的应用效果[J]. 医学美学美容, 2024, 33(14): 53-56. DOI:10.3969/j.issn.1004-4949.2024.14.014
[15] 赖建洋, 邢永坚. 急诊创伤清创缝合修复术后伤口感染的临床分析[J]. 中华灾害救援医学, 2023, 10(12): 22-25. DOI:10.13919/j.issn.2095-6274.ZHJY202501027
[16] 朱颖, 苏亦男, 曹启环, 等. 基于双重差分模型分析新护士岗位胜任力培训效果[J]. 卫生职业教育, 2025, 43(6): 77-81. DOI:10.20037/j.issn.1671-1246.2025.06.21
[17] 夏菱, 马国亮. 自主选择冲洗液功能的清创车的研制及应用[J]. 医疗卫生装备, 2014, 35(9): 124-125. DOI:10.7687/J.ISSN.1003-8868.2014.09.124
[18] 绵阳市安州区人民医院. 电动清创车: CN202121506553.6[P]. 2021-12-21.